为了加强学院学生宿舍安全管理,切实提高学院安全管理水平,保障校园安全。计算机学院&大数据学院于2020年9月16日下午组织了全院学生宿舍大检查,副院长戴平、院长助理夏林、学工主管张文竹、全体辅导员以及学生会相关学生参与了此次安全检查工作。 (图为夏林宣讲检查前的注意事项)检查前,夏林强调此次检查相关注意事项,确保做好学院开学前后安全隐患排查工作。检查中,老师们对每间寝室的情况进行记录,并且始终强调树立“安全第一”的意识,注意寝室设施使用的安全问题,遵守学校寝室各项规章制度,共创温馨、文明的住宿环境。(图为戴平副院长带领学院辅导员在寝室检查)戴平叮嘱同学们要勤洗手、常通风,做好疫情防控措施并保持健康的文明生活习惯,同时,也要注意防火防盗、保持良好的寝室卫生,在疫情防控期间要克服困难,养成健康的体魄。通过此次专项检查,不仅及时了解了学生返校后的宿舍状况,同时提高了同学们的安全和卫生意识,加强了学生出入寝室的管理,为学院新学期学生安全管理以及各项工作的进一步展开奠定了良好的基础。 (文/张
计算机与软件工程学院
0
2020/09/18
为进一步贯彻落实疫情防控常态化要求,深入了解计算机学院&大数据学院返校后的学生管理以及新学期的学生工作思路,9月15日下午,副校长葛付才、学生处处长吴晓、主管潘经健、孙玉洁、随小莉等一行来到学院走访调研新学期的学生工作。计算机学院&大数据学院院长助理夏林、学工主管张文竹和全体辅导员参加了此次调研活动。(图为葛付才指导工作)会上,夏林首先向校领导一行介绍了新入职辅导员的情况,随后就2020年学工工作情况进行了详细汇报。汇报围绕当前学院学生返校情况、返校后管理落实、新学期学风建设与素质养成工作的思考、辅导员的培养、新学期计划等多个层面。汇报最后也提出了几点期望,期待学校增加辅导员培训机会,如果有好的创新想法期望可以考虑在计算机学院&大数据学院试点。(图为夏林就2020年学工工作情况进行详细汇报)吴晓首先回答了如何统筹解决工作中存在的问题,并对学院近期的返校管理、综合测评公示、困难认定、团队培养等工作的有序开展给予了肯定,对于疫情期间两校两地管理提出指导,强调学院在工作方面要做好统筹协调,辅导
计算机与软件工程学院
0
2020/09/18
志愿服务,点亮校园文明之光。为全面加强我市创建文明城市各项工作,大力弘扬“奉献、友爱、互助、进步”的志愿服务精神,营造文明城市共建、共治、共享的浓厚氛围。计算机与软件工程学院学生党支部在学院党总支副书记戴平,党务主管张齐云,后勤处李子丰老师的带领下结合实际情况,以维护校园秩序,提升社会文明程度为目的,开展了文明引导志愿服务活动。(图为老师们与志愿者合影)“同学你好,上二楼请从这边入口走。”9月16日,文津校区食堂入口文明引导志愿者头戴小红帽,身披绶带,引导全体师生文明用餐。他们笑着说道,看到大家文明进出食堂,自己也特有成就感。(图为志愿者在工作岗位上)随处可见的文明引导志愿者,用行动展现文明就在身边。工作中,志愿者对同学的不文明行为进行劝说制止,同时,志愿者还热情地帮助食堂阿姨清理垃圾、扶正隔板等,得到了食堂工作人员和全校师生的一致好评。“通过宣传引导,我对创城有了更深刻的认识,作为安信工一份子,同时也是一名发展对象,我们应当负起责任,贡献自己的力量,建设美好校园,合力推动芜湖市创城工作
计算机与软件工程学院
0
2020/09/17
为营造整齐有序、干净美丽的工作和学习环境,2020年9月16日,计算机与软件工程学院副院长戴平、院长助理夏林、行政党务秘书张齐云、实验室副主任赵林、团总支书记冷自永组成检查小组,对文津校区学院的教室、实验室和办公室进行了卫生大检查。检查小组主要从课桌、实验室桌面、办公桌、办公用品摆放、食品包装袋、杂物堆放等方面进行全面检查,并现场打分。(图为学院教职工办公桌面)在检查过程中,检查小组对各教室、实验室、办公室的卫生和美化工作表示肯定,同时针对部分教室和办公室卫生方面存在的明显问题,检查小组提出了整改意见并现场对接负责人要求整改。(图为检查小组检查教室、实验室和办公室现场)(图为检查小组和老师交流现场检查结果并提出整改意见)学院环境卫生是学院形象最直观的反映,是师生精神面貌的重要体现。学院重视教室、实验室和办公室环境的打造和维护,目的在于优化育人环境,提升管理水平,使师生坚持良好的工作习惯和学习习惯,积极愉快地投入到教学和学习之中。通过此次卫生大检查活动,提高了全体师生对教学、办公环境卫生的
计算机与软件工程学院
0
2020/09/17
为践行学校“十四·五”规划目标的达成,实现“六个”上台阶,积极落实和学院“十四·五”规划设计工作总体部署。2020年9月16日下午,通识教育与外国语学院大学生综合素质教研室全体教师召开题为“不忘初心之梦 明确发展思路”会议,会议由综合素质教研室洪杰副主任主持,院长助理兼素培中心主任陈巧巧参加会议。 会议伊始,洪杰副主任详细介绍了大学生综合素质与能力培养中心(简称“素培中心”)发展历程,结合学校办学愿景(“产业工程师和创业企业家的摇篮”)和办学定位(应用型大学),重点说明了“素培中心”成立初心。要求全体教师以综合素质核心四门课《职业能力与素养》、《职场应用写作》、《创意与创新能力》、《大学生就业指导》为课程开发研究对象,课程产品设计过程,要始终以市场对人才动态需求为导向,结合我校学生实际情况,深入研究,开发课程。通过前期课程开发、实施、检验、修正、完善等环节,不断迭代产品开发质量,因此,在每次听示范课时要做到“两手抓、两手都要硬”的思想准备,一抓听课质量,提升授课能力,二抓产品开发质量,通
大学生综合素质与能力培养中心
0
2020/09/17
安徽信息工程学院全国大学生数学建模大赛于九月十日晚在学校机房正式开始。数学建模竞赛的本质是应用与创新,是工程领域的理论基础。比赛旨在锻炼选手学以致用、敢于创新、团队协作的意识和能力。我校学生积极参赛,体现了参赛团队及队员的拼搏奋斗、积极向上的学习精神。该竞赛创办于1992年,每年一届,是首批列入“高校学科竞赛排行榜”的19项竞赛之一。2020年,来自全国及美国、英国、马来西亚的1470所院校45680队(本科41826队、专科3854队)、13万多人报名参赛。这一活动对提高大学生素质,促进高校数学与计算机教学改革起着积极的推动作用。在此次比赛之前我校已举办一次校内选拔赛,意在选拔出更优秀、更具团队意识的队伍参加此次大赛。最后共选拔出26支队伍参加此次大赛,并且在学校、协会指导老师、各参赛队及协会的共同努力下取得了圆满成功。参赛成员也在比赛过程中不断发现问题并及时解决问题。相信在大家的共同努力下,我校在数学建模大赛中将会取得更大的成果。(吴敏校长等校领导在给我校学子加油打气)相信通过本次比
通识教育与外国语学院
0
2020/09/17
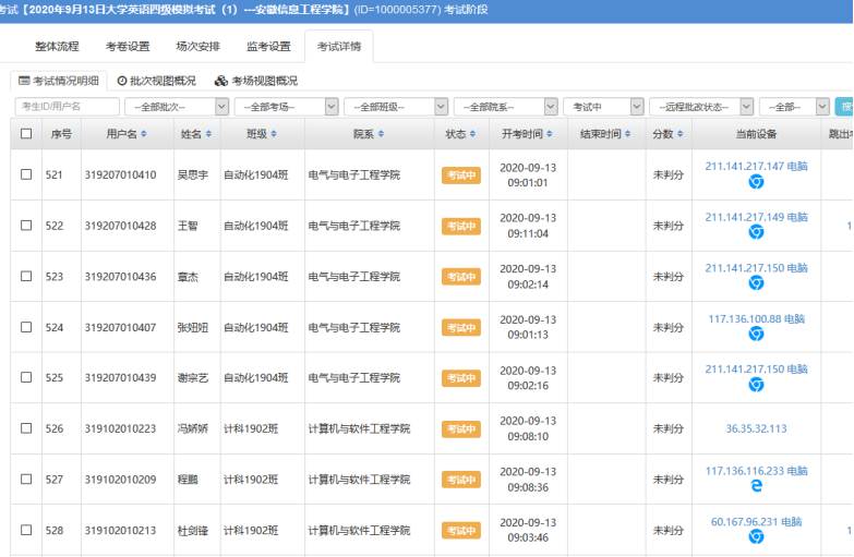
因疫情原因,2020年上半年学生均在线上学习,全国大学生英语四级考试因而搁浅,本应在上半年举行的全国大学生四级考试推迟到了秋季的9月份,为了缓解学生对四级考试的焦虑,保障我校学生在能快速适应本次考试,通识教育与外国语学院于9月13日组织参加四级考试的考生进行了线上四级模拟测试。该测试使用了外研社的“i-test”系统,该系统已于8月份进行了外研社杯比赛使用,测试效果良好,在考生考试过程中,能检测到学生的考试情况,便于监督,为保障学生能熟悉该测试平台,外语教研室分发了详细的操作手册和注意事项,并在英语协会的协助下完成了平台相关问题的答疑。本次考试使用了大学英语四级考试题型,难度和大学英语四级等同,考试于当天上午平稳顺利结束。I-test系统功能齐全,操作便捷,可以用于组织学生进行考试模拟训练、模拟测试,便于学生自我检测自己的学生进度。(文/唐静 图/胡叶婷 核/吴双璇 审/黄飞)
通识教育与外国语学院
0
2020/09/17
为深入学习贯彻习近平总书记关于网络强国的重要思想,根据省教育厅通知精神,2020年9月15日上午10时,我校组织师生通过新华网、央视网等在线收看了“聚力青春 守护安全”网络安全公开课。(师生集体收看)(图为学生在寝室收看公开课)此次网络安全公开课,使我校师生更加明晰了现阶段网络安全形势,强化了网络安全意识,了解了国家网络安全工作取得的重大成绩,增强了自觉维护国家利益的强烈使命感和责任感。同学们纷纷表示一定会理性甄别网络信息,更加积极主动地维护国家网络安全,为祖国的网络安全建设贡献青春力量。(文/咸友健 图/学生处 审/赵靓)
党委宣传部
0
2020/09/16







